PART II
[60 marks]
Answer three questions only from this section
-
-
-
Given a flashlight, a tennis ball, and a screen, draw a diagram to show how a shadow can be formed.
-
A student seeking to determine the volume of an irregular body of mass 4 kg used a graduated cylinder in an experiment. Fig. 2 illustrates two key stages of the experiment where A indicates a setup before the irregular body was immersed and B indicates the same setup after the irregular body was immersed. Determine the density of the irregular body.
-
State two precautions that must be taken to obtain reliable results.

-
-
State three safety precautions to prevent accidents during the use of liquefied petroleum gas in the home.
-
Explain briefly the scientific principle underlying each of the following waste management practices:
-
Composting;
-
Recycling;
-
Incineration.
-
-
The digestive system of two domestic animals was provided. One is that of a goat and the other is that of a rabbit. Outline three features that would help to differentiate between the two digestive systems.
-
-
-
-
You have been given maize, cowpea, cassava, and cabbage to cultivate on a piece of land using a crop rotation system. Design a 4-year rotational program using the given crops.
-
Give two reasons for the sequence given in (a)(i).
-
-
-
A student is suspected of having contracted COVID-19.
-
Give three symptoms that the student may exhibit to confirm this suspicion.
-
Suggest two ways to prevent the spread of COVID-19 in the school.
-
Give two reasons why COVID-19 was declared a pandemic.
-
-
-
-
The mass of a vehicle is 1000 kg and it travels at 100 m/s. If the vehicle accelerates to 150 m/s in 10 s, calculate the:
-
acceleration of the vehicle;
-
force that acts on the vehicle;
-
final momentum when the vehicle comes to a stop.
-
-
-
-
-
A student who went to bed immediately after eating complained of stomach upset the next morning. A doctor prescribed a liver salt, whose major composition is NaHCO3 as the medication. Using a balanced chemical equation, explain how the liver salt would relieve the student from this discomfort.
-
Fig. 4 is an illustration of a body of mass 20 kg placed on top of a wall of height 10 m. Calculate the energy of the body.
-
-
Define the term light emitting diode (LED).
-
Mention two devices that use LED in their operation.
-
-
A student was tasked to prepare a raised nursery bed for nursing tomato seeds:
-
Suggest two simple tools that could be used in the nursery bed preparation;
-
State one function each of the tools listed in (d)(i).
-
-
-
State three observable features of an animal cell.
-
State two functions of a nerve cell.
-
-
-
-
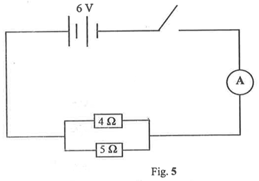
Fig. 5 is an electrical circuit diagram. Study it and answer the questions that follow.
-
Calculate the effective resistance in the circuit when it is closed;
-
Calculate the current that will flow through the circuit when it is closed.
-
-
-
Differentiate between an organic fertilizer and an inorganic fertilizer.
-
Outline briefly the steps involved in preparing raised beds.
-
-
-
State one function each of the following components of blood:
-
red blood cells;
-
white blood cells;
-
blood plasma.
-
-
Explain briefly the impact of each of the following organisms on humans:
-
housefly;
-
grasshopper.
-
-
-
Describe briefly the formation of an ammonia molecule after an interaction between 1H and 7N atoms.
-
-
-
State three ways by which the atmosphere in an industrial area is polluted.
-
-
Write the word equation for each of the following reactions between:
α) calcium and oxygen
β) nitrogen and hydrogen
-
State the hazard that could be prevented when each of the following protective materials are used in the laboratory:
α) gas mask
β) goggles
-
-
-
If a cuboid of weight 100 N has sides 5 cm by 10 cm, calculate the:
α) Area of the cuboid;
β) Pressure exerted by the cuboid when it lies on its side.
-
-
-
Explain the term mixed farming.
-
State two advantages of mixed farming.
-
-